
一、結構、工作原理
HXF型系列星形給料機是參照我國化工部和機械部有關標準設計的一種定量給料設備(星形給料機)。該機主要由密封在鑄鐵或鋼制外殼中帶有葉片或者星形槽的轉子所構成。外殼的頂部有進料口,底部有出料口,其進出料口法蘭按照HGJ45—91標準設計,驅動裝置裝在給料機殼體上,裝配成一個整件設備。
當軸旋轉時,給料機上半部的星形室被物料充滿,軸繼續旋轉,封在星形室內的物料被轉至給料機下半部,憑借物料的重力由出料口卸出。
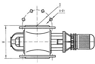
型 號
|
H |
D |
n—d1 |
HXF—150 |
260 |
240 |
8—22 |
HXF—200 |
310 |
295 |
8—22 |
HXF—250 |
412 |
350 |
|
HXF—300 |
450 |
400 |
12—22 |
HXF—350 |
510 |
460 |
16—22 |
HXF—400 |
580 |
515 |
16—26 |
HXF—500 |
653 |
620 |
20—26 |
三、應用領域
星形給料機一般安裝在貯倉或料斗的下部,可均勻地將物料加到輸送設備上。這種給料機可以處理粉狀、球狀及粒狀物料,有助于減少易爆粉塵及易揮發物料帶來的危險。
當物料有毒時,不準泄漏至空氣中是至關重要的。本機結構的優點是使料斗底部或貯倉與出料口之間密封,不會使空氣或其它氣體侵入。
本機不能用來處理堅硬的或磨琢性強的物料。對于中等磨琢性的物料或粘性物料,用戶在訂貨合同中必須注明,我們在設計、制造時將采取特殊處理。
本機可計量物料,給料機進出口之間不存在壓力的差異時。給料機的填充系數近似0.85。